Bunri Filter RBF
Bunri Filter RBF Thumbnail Bunri Filter RBF Thumbnail Bunri Filter RBF Thumbnail Bunri Filter RBF Thumbnail Bunri Filter RBF Thumbnail Bunri Filter RBF Thumbnail Bunri Filter RBF Thumbnail Bunri Filter RBF Thumbnail Bunri Filter RBF Thumbnail

Bunri Filter RBF

Bag-filter-type filtration unit with a simple structure and high-precision filtration. Optimum as a secondary filtration filter for cutting and grinding.

Features

Mechanism

Specifications

Filtration accuracy

See image below

Product weight

Paint color

Silver gray (Munsell No. N-8.0)

Model code

Model code image

Coolant

Water soluble Oil-based

Category

Magnetic material Non-Magnetic material

Processing Details

Grinding Cutting

Work Material

FC/FCD Steel Aluminum Stainless Copper Titanium Carbide Magnesium Mixed chips (aluminum + FC or sintered metal)

Chip Shape

Sandy Cottony Granular Needle-shaped

Grinding Chip Size

Ultrafine particles (5 μm to 10 μm) Fine particles (10 μm to 100 μm) Coarse particles (0.1 mm to 0.5 mm)

Machine Tool

Grinding machine Saving machine Tool grinding machine Honing machine Super finishing machine (Super finisher) Thread rolling machine Machining center Broaching machine NC lathes Automation machine Gear cutting machine Gun drill machine Induction hardening machine Cutting specialized machine Washing machine

Mechanism

Mechanism 1
Mechanism 2
  1. The dirty liquid pumped by the coolant pump flows in from the top of the main body.
  2. The dirty liquid is filtered by the filter, and the clean liquid is supplied to the clean tank from the bottom of the main body.

Specifications

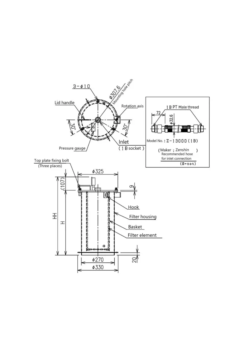
Dimensional drawing

Dimensional Drawing

Dimension table

Dimension Table

Filtration accuracy / Processing flow rate / Model code

Model Code

* The filtration accuracy is based on the results of our experiments, and does not imply that this level of accuracy is guaranteed.

Product weight

* The product weight varies depending on the specifications, options, etc.

Paint color

Silver gray (Munsell No. N-8.0)

* For information about the specified color, please consult us.

Product Photo (Example)

Main body

Main body

Basket section

Basket section

Unit

Unit


* The filtration accuracy is based on the results of our experiments, and does not imply that this level of accuracy is guaranteed.
* The specifications and dimensions are subject to change without notice.
* When the oil viscosity exceeds 50 mm 2/s, please consult us.
* For details on how to select the supply pump, please contact us.
* For information about custom products other than standard products, please consult us.